In accordo con l'EUROCODICE 8 l'accelerazione orizzontale ah a cui è assoggettato, statisticamente l'ammasso di terreno direttamente interagente con l'opera è espressa come:
![]()
con
![]()
cioè
![]()
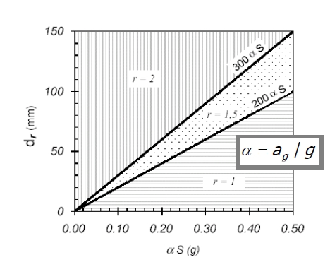
dove ag è l'intensità sismica del sito, S il coefficiente d'amplificazione funzione della stratigrafia locale ed r un parametro che permette di scalare l'intensità dell'azione sismica nel calcolo delle azioni di progetto della struttura. Il coefficiente r può assumere valori compresi tra 1 e 2, a seconda della tipologia dell'opera in relazione al comportamento durante il sisma ed al danno permanente tollerabile.
Nel caso di opere di sostegno, l'EC8 propone alcune correlazioni che permettono di legare r all'entità della deformazione accettabile (figura seguente).
In presenza di terreni incoerenti saturi si dovrà comunque assumere r =1.

Determinazione del coefficiente r e lo spostamento ammissibile dr (mm)
Il coefficiente di amplificazione locale S viene determinato in ragione della stratigrafia al di sopra del substrato:
Tab. Coefficiente di amplificazione locale S
Terreno |
S |
|---|---|
A |
1,00 |
B |
1,25 |
C |
1,25 |
D |
1,35 |
E |
1,25 |
Per quanto riguarda le deformazioni ammissibili ci si deve riferire alla destinazione dell'opera ed all'ambito in cui è inserita.
La componente verticale sarà calcolata come
![]()
con
![]()
Le accelerazioni kh e kv dovranno essere poi moltiplicati per il coefficiente d'importanza γI
Tab. EUROCODICE 8 - Classe d'importanza
Classe d'importanza |
Costruzioni |
γI |
|---|---|---|
I |
Costruzioni di minore importanza per la pubblica sicurezza. |
0.8 |
II |
Costruzioni ordinarie, non appartenenti alle altre categorie. |
1.0 |
III |
Costruzioni la cui resistenza sismica è di un'importanza in vista delle conseguenze associate al collasso. |
1.2 |
IV |
Costruzioni la cui integrità durante il terremoto è di un'importanza vitale per la protezione civile. |
1.4 |
© Geostru Software